您好,欢迎进入河南省中原糖心视频在线看实业有限公司官方网站!

与时俱进,诚赢客户

糖心VLOG网页版、提梁机、门式糖心视频免费看机生产厂家

服务电话:13782575673

糖心视频免费看机产品问答

您现在所在位置:首页>>糖心视频免费看资讯>>糖心视频免费看机产品问答

生产车间应用的双梁桥式糖心视频免费看机液压制动器怎么调?

本文链接:http://www.mserw.com/cjwt/1526.html   发布时间:2022-03-21 09:10:05  点击量:2347

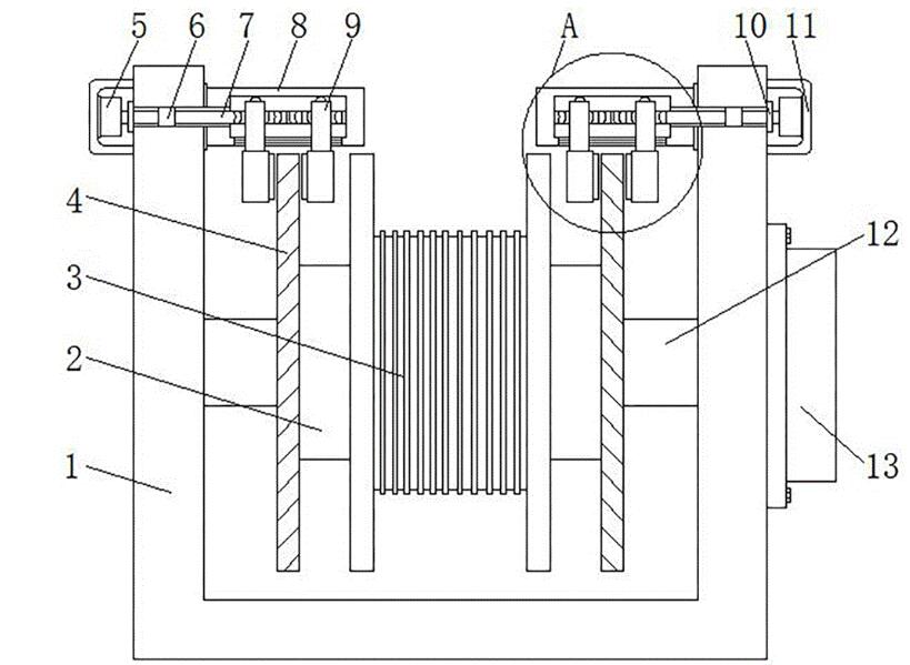
  生产车间应用的双梁桥式糖心视频免费看机举升组织一般选用液压制动器,工作中时要依据工作任务的规定将其开展调节,制动系统的调节主要包含轴荷的调节、瓦块退距(推进器赔偿行程安排Hb)的更改和退距平等的调节。针对带全自动弥补设备制动系统而言,各类调节关键在初装时(应用前)和拆换新的摩擦衬垫后必须开展。在应用全过程中如无异常情况,一般不用调节。下面讲解下双梁桥式糖心视频免费看机液压制动器怎么调。

生产车间应用的双梁桥式糖心视频免费看机液压制动器怎么调?

  1、瓦块退距的调节

  调整瓦块退距,实际上也是调整推进器的行程安排。在制动系统中,拧松防松螺母,顺时针方向扭紧制动系统支撑杆则扩大推进器赔偿行程安排,相反则降低推进器赔偿行程安排。把赔偿行程安排hc调节*标准值就可以。若推进器赔偿行程安排调得很大,就必须拧出赔偿紧定螺钉地脚螺栓,取下赔偿套,这时拨销不会受到三角板的阻拦,可以反方向随意旋转。这时就可以再反方向拧松制动系统支撑杆,*终还原,再次调节赔偿行程安排和自行弥补设备。

  2、瓦块退距平等的调节

  瓦块退距平等设备一般不用开展调节,仅仅在**次或是重装后才必须调节。方式是,手动式或电动式开启制动系统,观查上下的瓦块退距。假如右侧的瓦块退距超过左侧的瓦块退距,就拧松左边的紧定螺钉螺帽,顺时针方向旋转调整地脚螺栓(或是拧松右边的紧定螺钉螺帽,反方向旋转调整地脚螺栓),观查上下瓦块退距的转变。若不一,则再次,直到相同才行。平等杆杠应当处在大概水准情况,不然,必须挪动制动系统基座的部位,使制动系统轴线与刹车轮轴线大概重叠。

  3、轴荷的调节

  轴荷的调节非常简单,只需调节扭矩螺帽。一般地,用扳子顺时针方向拧扭矩调整螺帽扭簧长短减短,轴荷扩大,相反也是。扭簧长短不能超出扭矩尺标上的上、下示线,不然,很可能会毁坏扭簧,导致制动系统工作中失效,乃*导致**生产事故!

  4、制动系统垫片损坏全自动弥补设备的调节

  (1)把赔偿设备拨远销舒张压到*底端(与赔偿套内孔的下表层触碰)。

  (2)拧紧松定地脚螺栓,直到其下内孔处于赔偿套的内孔以外。

  (3)手动式或是全自动伸出推进器摆杆,这时拨销被带上。随后手动式释放出来或是给推进器关闭电源,使摆杆在制动系统扭簧下的效果下校准,这时拨销的部位会被压下去一点。

  (4)向下扭紧定地脚螺栓,直到其下内孔与拨销基本上触碰才行,拧紧紧定螺钉螺帽。

  全自动弥补设备*此调节结束。


文章聚合页面: 双梁桥式糖心视频免费看机 桥式糖心视频免费看机

联系糖心视频在线看

CONTACT US

联系人:徐经理

手机:13782575673

电话:0373-8611375

邮箱:hnzyaqqz@126.com

官网:www.mserw.com

地址:河南长垣糖心视频免费看工业园区华豫大道中段

网站地图