糖心VLOG网页版的轨道安装形式要充分考虑轨道的安装与固定方式,根据厂房、工地的实际情况确定适合自己的而又符合相应标准规定的轨道固定方式。那么,糖心VLOG网页版轨道有几种安装方法?下面为大家详细介绍10吨糖心VLOG网页版轨道安装示意图。
1、压板固定法:将导轨直接铺设在混凝土支撑梁上,采用鱼尾压板将导轨固定。原来的老式厂房多用此种安装方法,轨道支承梁与厂房一起浇筑完成。此种安装方法,行吊运行平稳震动噪声小,支承梁截面积较大,有的还带有人行通道,对于轨道的检查维修非常便利,便于发现问题与解决问题。
2、枕木固定法:此种方法多用于施工工地的门式行吊,在地面上铺设石子后铺设导轨,一般枕木的断面尺寸为200~300mm,间距一般为600 800mm左右。此种安装固定方式拆卸较方便,便于移动。
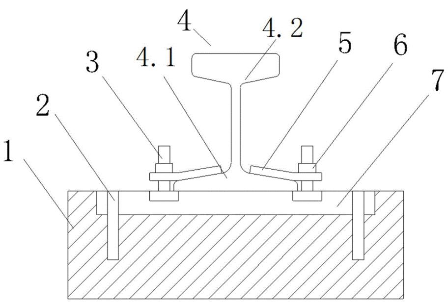
3、钩形螺栓固定法:此种方法多用于目前建造的金属结构厂房。在厂房的支柱上焊接支承块,在支承块上铺设工字钢,然后将导轨铺设到工字钢上,采用钩形螺栓或者焊接等方法将导轨固定。由于支柱与支承梁均为金属结构,行吊运行时震动噪声较大,检修空间较小,对支柱固定牢固及稳定性要求高,但便于施工,建设速度快。

联系人:徐经理
手机:13782575673
电话:0373-8611375
邮箱:hnzyaqqz@126.com
官网:www.mserw.com
地址:河南长垣糖心视频免费看工业园区华豫大道中段